您的位置: 中国幕墙网 > 技术热点 > 新闻正文

石材幕墙可任意拆装板块的挂件(上)

来源:中国幕墙网收集整理  作者:李宝成  日期:2006-10-26
页面功能 [字体: ] [ 打印 ] [ 投稿 ] [ 评论 ] [ 转发 ] [ 啄木鸟 ]
    摘  要:本文阐述了一种新型的石材挂件结构,为石材幕墙的安全和板块的更换提供了方便。

    关键词:石材挂件;上竖直定位板;下竖直定位板;水平托板。

    幕墙技术在我国已由初级阶段步入到成熟阶段,
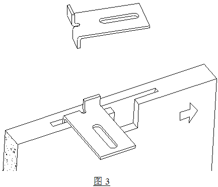
    3.3   勉强装上去的石板,等于挂上去个炸弹

    将要更换的板块砸碎后,如图2所示,在洞口上下边各留两个挂件的①和②竖直定位板。要想装上新的板块,必须在新板块四个安装槽的里壁上,按测量尺寸各开一个工艺豁口如图3 ,才能将板块水平的推入洞口。然后将板块向右滑移,使上下竖直定位板卡入板块的安装槽。即使能勉强的安装上了这块板块,强度也减弱了很多。从图3中可以看出,竖直定位板卡的部位只是槽口里壁开豁口后的一个犄角。天然石材是脆性材料,槽口里壁在开豁口时又切断了石材的纹理,这样安装的板块在负风压作用下因强度不足很容易破坏。现在大楼越建越高,用种方法安装的石材板块就象挂上去的炸弹。一旦从高处掉下来危险性很大,可能造成很大损失。


    大家看到了很多大楼的石材幕墙都有色差。有的就因为几块板块的色差太大,已影响整个墙面,就象一件新外套打了几块补丁,很难看。为什么不换?就是因为幕墙板块缝隙小,现在的石材挂件要想满足卡入量,很难实现板块更换。高层用的大板块石材幕墙竖边必须采用挂件加强的四边固定系统。就更增加了更换板块的难度,现有的石材挂件结构根本解决不了板块的更换问题。在安装现场用临时糊弄的方法安装上的石材板块,肯定不安全。决对不能盲目采用。

门窗幕墙第一手资讯! 上中国幕墙网 news.alwindoor.com 手机访问地址 3g.alwindoor.com

上一页12下一页

此文由 中国幕墙网 www.alwindoor.com 收集整理,未经许可不得转载!
我要评论 (已有*人参与评论)
上一篇:班广生:对建筑透明部分节能的几点看法
下一篇:幕墙立柱双跨梁力学计算模型的探讨    
【回到顶部】
  幕墙设计师是建筑设计的重要一环,幕墙是从室内空间到室外空间的过度层,是可供观赏的外表,是体现建筑设计外观,传达建筑设计理念的基础...
[正文]  [评论]

中国幕墙网版权和免责声明

版权声明: 本网站所有文章版权,归中国幕墙网和作者所共有,未经允许请勿转载。

转载要求: 转载的图片或者文件,链接请不要盗链到本站,且不准打上各自站点的水印,亦不能抹去本站水印。

隐私条款: 除非特别声明,否则文章所体现的任何观点并不代表中国幕墙网。
本站转载或引用文章若涉及版权问题请与我们联系,我们立即将其删除!

月精彩评论集锦
  • 不创新的风险比创新更高,可持续发展就是企业追求永恒的主题,但是它在现实当中可能就是一个悖论,为什么呢?因为所有企业领导人都采取了所有的措施,要想使企业可持续,但是这一措施最后恰恰可能适得其反,企业不但不可持续,而且很有可能走向衰亡,所以要让企业可持续发展很重要要找出一条正确的路径.
    来自 182.135.64.76 的读者对门窗幕墙企业应在现有基础之上全面创新的评论
  • 一生平安
    来自 182.135.64.76 的读者对四川雅安芦山县发生7.0级地震的评论
  • 金叶的胶性价比还是最高的,要不信的可以与同价位的其他牌子胶打出来比比。
    来自 222.247.255.65 的haha对2010年度“建筑用硅酮结构密封胶”产品展播的评论
  • A,B方案和C方案没有可比性,因为石材板块尺寸做出较大修改。 此外,应慎重使用Ansys分析石材等本构关系不确定的材料。是否将分析结果和试验结果进行对比?
    来自 123.116.36.12 的读者对第一创业大厦石灰石幕墙工程设计的评论
  • 恭喜,恭喜。
    相信之江公司的产值会大增,服务会更上一层楼。
    希望严把产品质量关,加强产品防伪技术,压制假冒。
    来自 221.15.149.26 的读者对贺之江“金鼠牌”胶获“中国名牌产品”的评论
  • 胶,一线品牌白云、之江、硅宝、中原,他们都不错,质量稳定.安泰再好,也只是二线品牌,花再多钱来刷屏都没用!
    来自 222.210.117.18 的读者对2010幕墙门窗行业产品选用指南的评论
  • 说到胶关键还是要看品质,价格,价格优惠,质量又不错,南玻是国内玻璃行业的老大哥吧,之江,中原,白云,都有用,但不是他主要用的,主要用的胶是广州耐奇的胶,四大工厂都在用,东莞达百分之六十,吴江达百分之四十。
    来自 114.218.165.6 的读者对深度剖析:2007年度建筑用胶类认定产品横向对比的评论
  • PEC 虽然只是小公司,但是很努力,我们的目标是与哈芬看齐,望各位前辈多多支持。
    来自 121.239.50.8 的PEC对2010幕墙门窗行业产品选用指南的评论
知识百科
月热点新闻推荐
月企业关注度排名
月产品人气值排名
客服电话:400-60-54100  传真:0832-2201099 销售值班电话:15023154960